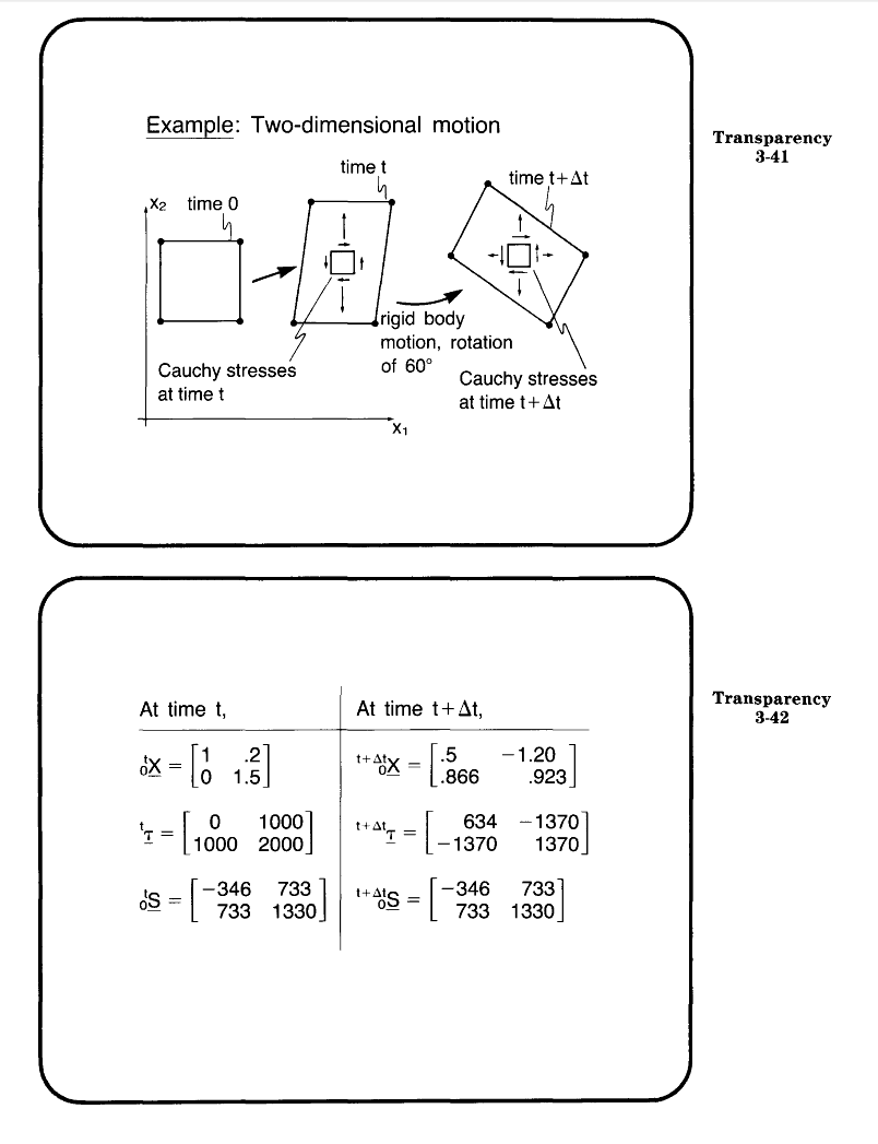
Cauchy stress values (i.e. the Cauchy stress tensor) changes when the body is subjected to only a rigid body rotation
Whereas, a second Piolla Kirchoff stress values DOES NOT change when the body is subjected to rigid body motion.
Now, in an simulation software the engineer rarely observes the 2nd Piolla Kirchoff stress values (most of the softwares do not even have this output). The engineer is normally interested is the Cauchy stresss.
I would say that 2nd Piolla Kirchoff stress is of direct physical importance because in reality a rigid body rotation will not cause an increase in stresses.
Why is that the 2nd Piolla Kirchoff stress not important to a practical (practising) engineer?
| Attachment | Size |
|---|---|
| cauchy.png | 42.51 KB |
Forums
Cauchy stress and 2nd Piolla Kirchoff stress
I sshall be grateful if someone can put his insight on the above question
Kajal
The problem with the 2nd
The problem with the 2nd Piola-Kirchhoff stress is its physical interpretation. The Cauchy stress or the 1st PK stress have more straightforward physical interpretation. You mentioned that the Cauchy stress changes during rigid body rotation and it is not a problem, because this does not increase the stress, it just change the actual configuration in which the stress is expressed. The transformation is according to the tensor transformation rules and thus it is a objective quantity.
In reply to The problem with the 2nd by Bafty
bafty..
Thanks- but I do not agree with you when you say that Cauchy stress (value) does NOT change during ONLY rigid body rotation.
See this image from Bathe (attached).
Why you say 2nd piolla doesn't have a physical interpretaion (it is a stress that is due to the actual deformation). do you mean the math of the expression doesn't have a physiocal interpretation?
You will the attached image
You will the attached image with my first post to this thread (original/first question)
I didn't say that it doesn't
I didn't say that it doesn't change( in fact it is more complicated, because after the transformation it is a different tensor). I just said that it changes according to the transformation rules, thus it is an objective tensor. The magnitude is not changed during rigid body rotation, just the components. When you compute eigenvalues of the Cauchy stress before and after the tranformation they will be the same.
The 2nd PK stress has a physical interpretation, but is tricky even in simple case, on the other hand physical interpretation of cauchy and 1PK stress is straightforward.
The 2nd PK can be interpreted as a force in the reference configuration acting on an area in the reference configuration, however this is not so easy to interpret in the experiment. What you measure in the experiment is a force in the actual configuration, so the Cauchy stress or the 1PK are more straightforward to use.
Cauch stress tensor..kajal
When you say:
The magnitude is not changed during rigid body rotation, just the components
Do you mean the resultant remains the same in case of rigid body rotation ?
I don't know what you exactly
I don't know what you exactly mean by resultant.
The eigenvalues and eigenvectors of the two Cauchy stresses are the same after the rigid body rotation. It has to be like that for objective tensors.
When you express the very
When you express the very same tensor in a different basis, the componenet are changed, but the stress is still the same.
In reply to When you express the very by Bafty
kajal ahain- cauchy and 2nd piolla
OK (I shall be grateful if we avoid getting mathematical)
When you say eigen values are the same- it means principal stresses are the same for Cauchy stress tensor and 2nd Piolla Kirchoff stress.
Yes
Yes
last question cauchy
So, if I'm computing the Von Mises stress from 2nd Piolla stress tensor or the Von Mises stress from Cauchy , they should be the same.
Right?
No, generaly they will not be
No, generaly they will not be the same. The 2nd PK stress is different from the Cachy stress. You can imagine a simple tension problem, square with initial area A0 which is fixed iat left and loaded by constant force F at right. The 2nd Pk stress will be equal to F/A0, the Cauchy stress to F/A. So they are different a so the J2 invariant which is proportional to the von Mises stress.
When you compute the von
When you compute the von Mises stress from the Cauchy stress before or ater a rigid body rotation they will be the same.
In reply to When you compute the von by Bafty
Yes, understood.
Yes, understood.
What if I compute the Von Mises stress from 2nd Piolla- it will also be the same as that computed from Cauchy, right?
No, I already responded to
No, I already responded to that question above
understood..now Cauchy
Ok, thanks. That is clear.
Coming to the origin of this question.
Why we cannot use Cauchy stress in non linear FE formulations:
1) Because the virtual work equation when written in terms of Cauchy stress requires volume integral at time t+delta_t. But the volume at t+delta_t is unknown
2) Cauchy stress at time t and Cauch stress at time t+ delta_t are in different configurations. They can hence not be sumperimposed.
Right?
You can use the Cauchy stress
You can use the Cauchy stress in the FE formulation and I think that lots of softwares like Abaqus are working with the Cauchy stress.
ad 1 The volume is not know but you can actualized position of the nodes throught iterations until you get the right final configuration.
ad 2: You can always tranform your stress from one configuration to another, however, I don't see why you want to superimpose them.
In reply to You can use the Cauchy stress by Bafty
thanks but (Caucy)
I have been reading from Bathe and his lectures-see attached page 71 of the pdf
unable to attach Cauchy
I'm unable to attach here (file size). If you give me your personal email id I cans end you the attachment by today.
I will look into Bathe's
I will look into Bathe's lectures, however I have no time for that now. You can look into Crisfields books, there you can find the detailed explanation. You can also look into Computational Methods for Plasticity: Theory and Applications in its accompaigning fem program there I think the actual configuration approach is also used.
Author - Computational Methods for Plasticity
Who is the author of Computational Methods for Plasticity: Theory and Applications ?
http://eu.wiley.com/WileyCDA
http://eu.wiley.com/WileyCDA/WileyTitle/productCd-0470694521.html